Certes, le Vision Pro n’a pas eu le succès attendu par Apple. Cependant, il est un domaine qui s’y est intéressé plus que les autres, et l’étude qui vient d’être ouverte ne dément pas ce flirt : le domaine médical.

Ainsi, comme le rapporte AppleInsider, l’entreprise Cognixion a démarré une série de tests permettant à des patients atteints de diverses pathologies paralysantes (AVC, SLA, ou d’autres lésions de la moelle épinière) de contrôler l’interface de l’Apple Vision Pro.
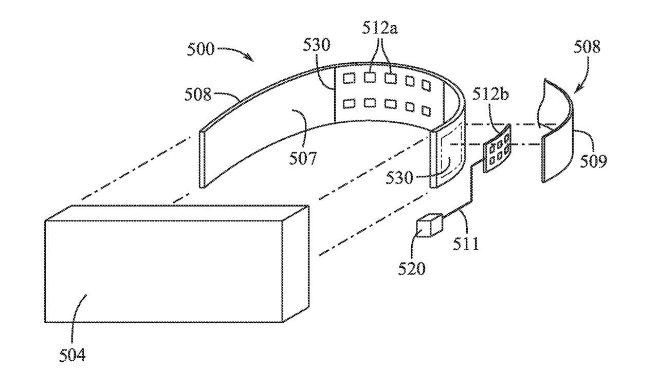
Jusqu’à présent, l’interface utilisée pour permettre au patient d’interagir avec l’appareil était invasive : il fallait placer les électrodes au minimum sous la peau, ce qui impliquait une intervention chirurgicale et des connecteurs inamovibles. Cognixion a développé une interface cerveau/ordinateur qui n’aurait pas besoin de chirurgie, se plaçant simplement au contact de la peau du crâne.
Si Apple n’est pas impliquée directement dans la recherche menée par Cognixion, l’entreprise loue cependant les pratiques de Cupertino, qui n’ont pas changé depuis des années, permettant au plus grand nombre d’accéder aux appareils à la pomme croquée en installant divers moyens de contrôle utilisables par les personnes à mobilité réduite.

Apple de son côté n’est pas inactive non plus dans le domaine, ayant déjà plusieurs brevets à son actif concernant des interfaces de contrôle pouvant lire les ondes cérébrales du porteur, et permettant ainsi le contrôle par la pensée. Si la plupart des avancées sont encore à l’état d’essais cliniques, la science a énormément accéléré ces dernières années pour trouver une solution rendant une certaine autonomie aux personnes gravement paralysées, et le Vision Pro apporte sa pierre à l’édifice.













